PREGUNTAS DE ESPECIALIDAD 3

Description

Ingeniería Quiz on PREGUNTAS DE ESPECIALIDAD 3, created by Adrian Echeverria on 23/09/2016.
Adrian Echeverria
Quiz by Adrian Echeverria, updated more than 1 year ago
Adrian Echeverria
Created by Adrian Echeverria about 9 years ago
491
2

Resource summary

Question 1

Question
Las antenas utilizadas para comunicaciones de radiodifusión con Frecuencia Modulada como la descrita a continuación. ¿Qué tipos de características eléctricas principales poseen?
Answer
  • 1. Frecuencia entre 300-325MHz, Polarización Vertical y una Ganancia de 3dBi
  • 1. Frecuencia entre 155-174MHz, Polarización Vertical y una Ganancia entre 0/2.1dBi
  • 1. Frecuencia entre 155-174MHz, Polarización Horizontal y una Ganancia de 2.1dBi
  • 1. Frecuencia entre 300-325MHz, Polarización Horizontal y una Ganancia de 3dBi

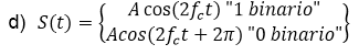
Question 2

Question
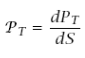
Cuando se trata de realizar un enlace entre varias antenas, además de contar con una que permita la transmisión y otra la recepción de las ondas transportadas como la figura lo muestra a continuación : ¿Cuál es la ecuación de la potencia extraída por la receptora?

Question 3

Question
Un arreglo de antenas consiste en agrupar una serie de antenas en progresiones geométricas sumando sus señales mediante un acoplador , entonces ¿Para qué se utilizan específicamente?
Answer
  • 1. Se utilizan siempre que se necesita hacer un intercambio de antenas
  • 1. Se utiliza para conocer la densidad de potencia irradiada
  • 1. Se utilizan para dirigir la energía radiada hacia un determinado sector.
  • 1. Se utilizan para garantizar parámetros del arreglo óptimos.

Question 4

Question
Para realizar un arreglo de antenas se necesita calcular el patrón resultante entre dos antenas con igual patrón de radiación ¿Qué tipos de método permite calcular dicho patrón?
Answer
  • 1. Método de patrón de grupo
  • 2. Método de multiplicación de patrones
  • 3. Método de patrón unitario
  • 4. Método de patrón resultante

Question 5

Question
En la siguiente figura se muestra un ejemplo de una antena omnidireccional ¿Cuáles son los pasos para resolver este ejercicio?
Answer
  • 1. Agrupo todas las antenas, reviso si el patrón es conocido y luego realizo la multiplicación de patrones
  • 2. Agrupo en 2 pares de 2, reviso si es patrón resultante es conocido, sitúo en el punto medio en cada patrón y realizo la multiplicación de patrones.
  • 3. Agrupo en 2 pares de 2, sitúo en el punto medio en cada patrón, realizo la multiplicación de patrones y reviso si el patrón resultante es conocido.
  • 4. Agrupo todas las antenas luego realizo la multiplicación de patrones y reviso si el patrón resultante es conocido.

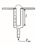
Question 6

Question
Según lo que se muestra en la figura, esta antena es de tipo dipolo doble ¿Cuáles son sus características principales?
Answer
  • 1. Agrupo todas las antenas, reviso si el patrón es conocido y luego realizo la multiplicación de patrones
  • 2. Agrupo en 2 pares de 2, reviso si es patrón resultante es conocido, sitúo en el punto medio en cada patrón y realizo la multiplicación de patrones.
  • 3. Agrupo en 2 pares de 2, sitúo en el punto medio en cada patrón, realizo la multiplicación de patrones y reviso si el patrón resultante es conocido.
  • 4. Se comporta como un dipolo doble, se dobla campo y se cuatriplica la resistencia de radiación.

Question 7

Question
Una antena de bocina se construye a partir de una guía de ondas pero para que cumplan su función: De que se debe asegurar
Answer
  • 1. El patrón de radiación y la directividad
  • 2. Los desfases acotados
  • 3. Las dimensiones y la directividad
  • 4. La alimentación y la directividad

Question 8

Question
La antena yagi es una antena direccional combinada con elementos parásitos conocidos como reflector y directores, conociendo esto: ¿Cuantos elementos directores normalmente puede tener y cuál sería la ganancia?
Answer
  • 1. Entre 1 y 20 elementos y hasta una ganancia de hasta 5 dB
  • 2. Entre 1 y 15 elementos y hasta una ganancia de entre 5 y 20 dB Entre
  • 3. Entre 1 y 20 elementos y hasta una ganancia de entre 5 y 20 dB
  • 4. Entre 1 y 15 elementos y hasta una ganancia de hasta 5 dB

Question 9

Question
Los dipolos de media onda poseen dos elementos de 1/4 λ y son muy fácil de construir en una gran gama de frecuencias ¿Qué tipo de antena es?
Answer
  • 1. Unidireccional en el plano perpendicular a los elementos
  • 2. Omnidireccional en el plano vertical a los elementos
  • 3. Omnidireccional en el plano perpendicular a los elementos
  • 4. Unidireccional en el plano vertical a los elementos

Question 10

Question
ENUNCIADO: Un dipolo es una antena compuesta de un simple elemento radiador CONECTOR: .- ¿Cuáles son las características de los radiadores?
Answer
  • 1. Están separados en dos secciones, son de igual longitud y los radiadores deben ser rectos
  • 2. Están separados en dos secciones, son de igual longitud y los radiadores no necesariamente pueden ser rectos
  • 3. Están separados en dos secciones, pueden ser de igual o diferente longitud y no necesariamente los radiadores pueden ser rectos.
  • 4. Están separados en dos secciones, pueden ser de igual o diferente longitud y los radiadores deben de ser rectos

Question 11

Question
Un dipolo también es una antena con alimentación central empleada para transmitir o recibir ondas. Estas antenas son las más simples. ¿Cuáles son las características de los dipolos?
Answer
  • 1. Longitud eléctrica, ancho de banda y ganancia
  • 2. Longitud eléctrica, directividad, impedancia propia y resistencia a la radiación.
  • 3. Directividad, resistencia a la radiación, ancho de banda y ganancia.
  • 4. Longitud eléctrica, ganancia, directividad, ancho de banda

Question 12

Question
Un dipolo corto prácticamente está formado por dos conductores de longitud total muy pequeña ¿Cuáles son las características de los dipolos cortos?
Answer
  • 1. La longitud es menor a /2, poseen directividad, impedancia propia y resistencia a la radiación
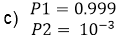
  • 2. La longitud es menor a /2, la impedancia es propia, la resistencia a la radiación es pequeña y el ancho de banda es efectivo, posee directividad
  • 3. La longitud es mayor a /2, la intensidad radiada es en función de su dirección, el ancho de banda es efectivo,
  • 4. La longitud es mayor a /2, no posee impedancia propia, la resistencia a la radiación es alta y el ancho de banda no es efectivo, posee directividad

Question 13

Question
Cuando los dipolos son mayores /5, la antena debe de ser acoplada para mejores resultados. ¿Qué se debe hacer en estos casos?
Answer
  • 1. Se debe realizar un arreglo de antenas dipolo corto
  • 2. Se debe realizar un arreglo de antenas dipolo doble
  • 3. Debe ser acoplado con línea coaxial y usando bobinas de carga
  • 4. Debe ser acoplado con línea coaxial y usando cargas lineales

Question 14

Question
.Si se quiere diseñar un dipolo corto de /4 con cargas inductivas con un ancho de banda de 1.8MHz y una altura de 18.3m y con una impedancia de 40 ohmios. ¿Cuál es la longitud de la antena y la inductancia de la bobina de carga ( μH)?
Answer
  • 1. 133 ft 10 in - 90.0( μH)
  • 2. 67 ft 10 in - 43.1( μH)
  • 3. 62 ft - 39.4 ( μH)
  • 4. 34 ft – 20.2( μH)

Question 15

Question
Cuando los dipolos son mayores /5, la antena debe de ser acoplada para mejores resultados. ¿Qué características poseen?
Answer
  • 1. Longitud eléctrica, ancho de banda, impedancia, resistencia a la radiación
  • 2. Longitud eléctrica, directividad, impedancia y resistencia a la radiación.
  • 3. Longitud, Impedancia, Directividad y Ancho de banda
  • 4. Longitud eléctrica, ancho de banda y ganancia

Question 16

Question
Se conoce que el suelo influye en el medio en la propagación pero existen antenas que permiten disminuir dicho fenómeno de interferencia. ¿Cuáles son los tipos y su funcionamiento? corregir
Answer
  • 1. Longitud eléctrica, ancho de banda y ganancia
  • 2. A frecuencias superiores, para antenas elevadas, el suelo produce reflexiones o difracciones cuando obstaculiza a la onda
  • 3. A frecuencias bajas y para antenas próximas al suelo se excita una onda de superficie de baja atenuación
  • 4. Longitud eléctrica, ganancia, directividad, ancho de banda

Question 17

Question
La atmosfera también influye en el medio en la propagación pero este produce un fenómeno debido a que los gases de la troposfera curvan la trayectoria de los rayos de propagación. ¿Cuál es ese fenómeno?
Answer
  • 1. Refracción
  • 2. Difracción
  • 3. Reflexión
  • 4. Absorción

Question 18

Question
La ionosfera produce fuertes refracciones -“reflexión ionosférica”- (a las frecuencias de MF y HF) cuando se trata de propagar una onda produciendo varios fenómenos de propagación. ¿Cuáles son estos?
Answer
  • 1. Difracción, atenuación y rotación
  • 2. Atenuación, difracción y reflexión
  • 3. Reflexión, absorción y dispersión
  • 4. Atenuación, dispersión y rotación

Question 19

Question
Las ondas guiadas Tierra-Ionosfera son eléctricamente pequeñas, aunque de dimensiones físicas muy grandes. En qué tipo de antenas su comportamiento es así:
Answer
  • 1. Antenas horizontales
  • 2. Antenas verticales
  • 3. Antenas sectoriales
  • 4. Antenas omnidireccionales

Question 20

Question
Las ondas guiadas tierra-ionosfera tanto en el suelo como la Ionosfera se comportan como buenos conductores En cuantos KHz:
Answer
  • 1. En VLF (3 KHz-30KHz)
  • 2. En VLF (1 KHz-30KHz)
  • 3. En VLF (5 KHz-25KHz)
  • 4. En VLF (1 KHz-25KHz)

Question 21

Question
Las ondas guiadas tierra-ionosfera debido a que son un método de propagación poseen cobertura global ¿Cuáles son sus aplicaciones?
Answer
  • 1. Radiodifusión, televisión digital
  • 2. Posicionamiento global, satélites
  • 3. Telegrafía naval y submarina, ayudas a la navegación
  • 4. Radiodifusión, televisión analógica, cobertura móvil

Question 22

Question
Las ondas guiadas Tierra-Ionosfera son eléctricamente pequeñas, aunque de dimensiones físicas muy grandes. En qué tipo de antenas su comportamiento es así:
Answer
  • 1. Antenas horizontales
  • 2. Antenas verticales
  • 3. Antenas sectoriales
  • 4. Antenas omnidireccionales

Question 23

Question
Una onda de tierra al poseer alcance, función de la potencia transmitida y la frecuencia Varía entre:
Answer
  • 1. LF: 1000 a 5000 Km, MF: 100 a 1000 Km, HF: menor de 100 Km
  • 2. LF: 2000 a 5000 Km, MF: 200 a 2000 Km, HF: menor de 100 Km
  • 3. LF: 1000 a 5000 Km, MF: 200 a 2000 Km, HF: menor de 200 Km
  • 4. LF: 1000 a 5000 Km, MF: 100 a 1000 Km, HF: menor de 200 Km

Question 24

Question
Las ondas de tierra debido a que se propagan en la discontinuidad tierra-aire son muy utilizadas en ciertos servicios de comunicación ¿Cuáles son sus aplicaciones?
Answer
  • 1. Radiodifusión, televisión digital
  • 2. Posicionamiento global, satélites
  • 3. Sistemas navales y Radiodifusión
  • 4. Radiodifusión, cobertura móvil

Question 25

Question
Las ondas de tierra son habitualmente antenas monopolos verticales que producen polarización vertical. A qué altura la producen:
Answer
  • 1. A una altura de 1 a 100m
  • 2. A una altura de 10 a 100 m
  • 3. A una altura de 100 a 200 m
  • 4. A una altura de 10 a 200 m

Question 26

Question
En una onda Ionosférica se produce un fenómeno en las bandas de MF y HF.. ¿Cuál es ese fenómeno?
Answer
  • 1. Refracción
  • 2. Difracción
  • 3. Absorción
  • 4. Reflexión

Question 27

Question
En una Onda Ionosférica el alcance para un solo salto se producen en las bandas de MF y HF. Y estas varían entre:
Answer
  • 1. MF: 0 a 1000 Km, HF: 50 a 4000 Km
  • 2. MF: 0 a 2000 Km, HF: 50 a 4000 Km
  • 3. MF: 0 a 1000 Km, HF: 10 a 4000 Km
  • 4. MF: 0 a 2000 Km, HF: 10 a 4000 Km

Question 28

Question
En una Onda de Espacio se asume una propagación en espacio libre modificada por el suelo debido a esto es muy utilizada ¿Cuáles son sus aplicaciones?
Answer
  • 1. Radiodifusión de FM y TV, Telefonía móvil, enlaces fijos , radar, comunicaciones vía satélite
  • 2. Radiodifusión, televisión digital, comunicaciones inalámbricas
  • 3. Sistemas navales, telefonía móvil
  • 4. Solo comunicaciones móviles

Question 29

Question
En una onda de Espacio la propagación es en el espacio libre modificada por el suelo y por la troposfera. ¿Cuál es su alcance?
Answer
  • 1. Desde 10.000 Km a los 40.000 Km en comunicaciones por satélite y millones de Km en comunicaciones de espacio profundo.
  • 2. Desde las decenas de Km a los 100.000 Km en comunicaciones por satélite y 400.000 de Km en comunicaciones de espacio profundo.
  • 3. Desde las decenas de Km a los 40.000 Km en comunicaciones por satélite y millones de Km en comunicaciones de espacio profundo.
  • 4. Desde 10.000 a los 40.000 Km y en comunicaciones por satélite y 400.000 de Km en comunicaciones de espacio profundo.

Question 30

Question
Existen muchos otros mecanismos de propagación de las ondas que permiten la transmisión de datos. Mencione 3:
Answer
  • 1. Refracción, atenuación y dispersión
  • 2. Difracción, turbulencias en la troposfera, enlaces transhorizonte
  • 3. Reflexión, absorción y dispersión
  • 4. Dispersión Troposférica, Reflexión en la Luna, Propagación submarina

Question 31

Question
Para una antena lineal, grande en términos de λ, con distribución uniforme de corriente, al doblar su frecuencia de funcionamiento manteniendo constante sus dimensiones, ¿Cuál de las siguientes afirmaciones es correcta?
Answer
  • 1. El área efectiva se reduce a la mitad.
  • 2. El área efectiva no cambia
  • 3. El área efectiva se dobla
  • 4. El área efectiva se multiplica por cuatro

Question 32

Question
Se tiene un dipolo de λ/2 y la arista de un reflector diédrico de 90° para producir un campo máximo . ¿Cual seria la distancia de separación óptima para producir un campo máximo en la dirección del eje del diedro (bisectriz)?
Answer
  • 1. d=0.125λ
  • 2. d=0.25λ
  • 3. d=0.5λ.
  • 4. d= λ

Question 33

Question
Entre dos dipolos cortos separados 20 λ. existe una cierta impedancia mutua. Si se dobla la longitud de uno de ellos (y sigue siendo corto) la impedancia mutua:
Answer
  • Se dobla.
  • Se multiplica por cuatro
  • Es la misma
  • Aumenta en una factor √2

Question 34

Question
A un dipolo de 10 cm de longitud se le cambia su frecuencia de funcionamiento de 3 MHz a 6 MHz. ¿Cuál de las siguientes afirmaciones es cierta?
Answer
  • 1. La directividad se duplica.
  • 2. El área efectiva se divide por 4.
  • 3. La resistencia de radiación se divide por 4.
  • 4. La longitud efectiva se duplica.

Question 35

Question
Si tenemos un dipolo elemental y deseamos disminuir sus dimensiones manteniendo la frecuencia de trabajo. ¿Cuál sería la afirmación correcta con respecto a la longitud efectiva del dipolo?
Answer
  • 1. Disminuiría.
  • 2. Aumentaría
  • 3. Sería la misma
  • 4. Ninguna de las anteriores

Question 36

Question
Un dipolo en λ/2 tiene una impedancia de entrada Ze = 73 + j42,5 Ω. Al aumentar ligeramente la frecuencia de funcionamiento, ¿cuál de las siguientes afirmaciones es incorrecta?
Answer
  • 1. La parte real de la impedancia de entrada aumentará.
  • 2. La parte imaginaria de la impedancia de entrada disminuirá.
  • 3. La directividad aumentará.
  • 4. El ancho de haz disminuirá

Question 37

Question
En el balun de la figura, si su longitud R deja de ser igual a λ/4. Seleccione la opción correcta:
Answer
  • 1. Las tensiones en los brazos dejan de ser simétricas
  • 2. Las corrientes en los brazos dejan de ser simétricas
  • 3. La impedancia de entrada no varía
  • 4. La impedancia de entrada varía.

Question 38

Question
Si paralelo y muy próximo a un dipolo λ/2 ponemos un dipolo parasito idéntico (λ/2 ) . ¿Cuál sería la corriente del dipolo parasito?
Answer
  • 1. infinita
  • 2. Nula
  • 3. Igual y del mismo sentido que la del dipolo activo
  • 4. Igual y de sentido opuesto que la del dipolo activo

Question 39

Question
Un monopolo sobre el suelo utilizado como transmisor de AM tiene una longitud 75 metros. ¿A qué frecuencia es resonante?
Answer
  • 1. 0.5 MHz
  • 2. 3 MHz
  • 3. 1 MHz
  • 4. 2 MHz

Question 40

Question
Se desea transmitir una señal de Amplitud modula(AM) a una frecuencia de 1 MHz ¿Qué antena se utilizaría para realizar esta transmisión?
Answer
  • 1. Reflector
  • 2. Yagi
  • 3. Bocina piramidal
  • 4. Monopolo vertical.

Question 41

Question
Se tiene un dipolo de 0.45λ de longitud que resuena en espacio libre con una impedancia de entrada de 68 Ω. Si su rendimiento de radiación es del 94%, ¿cuál es la potencia radiada cuando se le alimenta con una corriente de 1 Amperio de pico?
Answer
  • 1. 34W
  • 2. 64W
  • 3. 32W.
  • 4. 68W

Question 42

Question
Al cargar un monopolo corto de longitud R fija con una cierta inductancia ¿cuál de las siguientes afirmaciones es correcta?
Answer
  • 1. Para hacer resonante la antena es necesaria una inductancia menor si se coloca cerca del extremo que cerca de la base.
  • 2. Si la inductancia se coloca cerca de la base la longitud efectiva es mayor que si se coloca cerca del extremo.
  • 3. El área efectiva aumenta debido al efecto de la inductancia
  • 4. El área efectiva permanece constante debido al efecto de la inductancia

Question 43

Question
La densidad de potencia que transporta una onda radiada por una antena vale 5 µW/m2 a 2 km. Calcule la PIRE del conjunto transmisor-antena.
Answer
  • 1. 21 dBW
  • 2. 24 dBW.
  • 3. 42 dBW
  • 4. 48 dBW

Question 44

Question
Con respecto a la polarización de un dipolo. Cuál de las siguientes afirmaciones no es correcta?
Answer
  • 1. En toda la banda de HF los dipolos son siempre horizontalmente polarizados. La altura del soporte requerido para un dipolo vertical también puede ser un problema
  • 2. Es posible tener un ángulo bajo de radiación con un dipolo vertical (eléctricamente) cercano al terrero.
  • 3. La altura del soporte requerido para un dipolo vertical también puede ser un problema
  • 4. Perdidas por reflexión también son mayores para polarizaciones verticales

Question 45

Question
Entre los materiales para construir una antena tipo dipolo tenemos a los balunes. ¿Por qué se utilizan los balunes para alimentar las antenas de tipo dipolo? CORREGIR
Answer
  • 1. Para asegurar la simetría de la corriente en los brazos del dipolo.
  • 2. Para asegurar la Asimetría de la corriente en los brazos del dipolo.
  • 3. Para que la corriente externa sobre el cable coaxial de alimentación, que genera entre otras cosas radiación contra polar.
  • 4. Para que la tensión externa sobre el cable coaxial de alimentación, que genera entre otras cosas radiación contra polar.

Question 46

Question
¿Qué mecanismo de propagación es aplicable a radiodifusión de onda media, durante la noche, para cubrir distancias de 1200 km.? Seleccione la opción correcta:
Answer
  • 1. Reflexión ionosférica
  • 2. Efecto conducto
  • 3. Comunicación vía satélite
  • 4. Onda de superficie

Question 47

Question
Entre uno de los fenómenos que se produce en la propagación etemos efecto de la difracción en radiocomunicaciones. Determine cual de las siguientes alternativas es la correctas. CORREGIR
Answer
  • 1. La atenuación de un radioenlace siempre sea mayor que la de espacio libre
  • 2. No tiene ningún tipo de efecto
  • 3. Ninguna de las anteriores es correcta
  • 4. Sea imposible establecer comunicaciones transhorizonte.

Question 48

Question
En un radioenlace terrestre a 10 GHz ¿Qué fenómeno no se produce nunca?
Answer
  • 1. Atenuación apreciable debido a la lluvia.
  • 2. Refracción por la atmósfera.
  • 3. Atenuación apreciable debido a la niebla
  • 4. Reflexión en el suelo.

Question 49

Question
Cuando una onda de 2 MHz se emite hacia la ionosfera ¿Qué fenómeno no se produce nunca?
Answer
  • 1. Rotación de polarización.
  • 2. Dispersión.
  • 3. Atenuación.
  • 4. Transmisión hacia el espacio exterior

Question 50

Question
Diga qué afirmación es cierta para una propagación a 1 MHz: Teniendo en cuenta las propiedades de propagación.
Answer
  • 1. El campo radiado por una antena no posee componente radial en ningún punto del espacio.
  • 2. A partir de 2D2 /λ (siendo D la longitud máxima de la antena) el campo de la onda propagada varía siempre como 1/r
  • 3. El campo de una onda de superficie sobre el mar se atenúa como 1/r a cortas distancias de la antena
  • 4. El alcance es mayor en el desierto del Sahara que sobre las llanuras de Polonia.

Question 51

Question
Con respecto a la propagación por onda de superficie en MF, con una PIRE de 3 KW. Determine cuál de las siguientes alternativas es la correcta.
Answer
  • 1. El alcance es mayor que la visión directa.
  • 2. Ninguna de las anteriores es cierta.
  • 3. El campo recibido se atenúa siempre como el inverso del cuadrado de la distancia al transmisor.
  • 4. La atenuación es menor en el desierto del Gobi que en las zonas agrícolas polacas.

Question 52

Question
Si se quiere proporcionar un servicio de Televisión entre Ecuador y Venezuela , ¿qué mecanismo de propagación utilizaría? Determine cuál de las siguientes alternativas es la correctas.
Answer
  • 1. Comunicaciones vía satélite en Microondas.
  • 2. Reflexión ionosférica en Onda Media
  • 3. Dispersión troposférica en UHF.
  • 4. Onda de superficie en Onda Larga

Question 53

Question
Cuando se analiza la difracción frente a obstáculos existen cambios en una propagación. Seleccione que afirmación es correcta:
Answer
  • 1. Para una correcta transmisión se debe dejar despejada una mayor altura libre de obstáculos en las zonas intermedias del vano transmisor-receptor que en las zonas próximas al transmisor o al receptor.
  • 2. Un rayo rasante a una cuña difractante aguda atenúa el 50% de la potencia
  • 3. La atenuación de difracción por una cuña aumenta cuanto mayor es el número de zonas de Fresnel que se liberan.
  • 4. La atenuación por difracción se reduce cuando disminuye la frecuencia. En el caso de obstrucción del camino directo.

Question 54

Question
Con respecto a la propagación por onda de superficie en MF, transmitiendo con un monopolo resonante sobre tierra con una PIRE de 5 kW ¿Qué afirmación es la correcta?
Answer
  • 1. La atenuación es más alta en mar que en tierra seca.
  • 2. El alcance es mayor que el de visión directa
  • 3. El campo recibido se atenúa siempre como el inverso del cuadrado de la distancia al transmisor
  • 4. Ninguna de las anteriores es correcta

Question 55

Question
Una estación terrena transmisora tiene un HPA con salida nominal en saturación de 10 W,q g p y g que son entregados a una antena parabólica cuya ganancia máxima es de 45 dBi. Diga cuánto vale el PIRE máximo de dicha estación terrena en dB.
Answer
  • 1. 55 dbW
  • 2. 10 dbW
  • 3. 45 dbW
  • 4. Ninguna de las anteriores

Question 56

Question
Las pérdidas de potencia más grandes se deben a la enorme distancia entre el satélite y las estaciones terrenas. Aunque su valor exacto depende de la frecuencia.. De que orden son las perdidas para satélites GEO
Answer
  • 1. Tales pérdidas son del orden de 200 dB en subida y otros 200 dB en bajada
  • 2. Tales pérdidas son del orden de 200 dB en subida y otros 100 dB en bajada
  • 3. Tales pérdidas son del orden de 100 dB en subida y otros 100 dB en bajada
  • 4. Ninguna de las anteriores

Question 57

Question
En una antena parabólica debido a que la huella del satélite está dirigida directamente hacia ese punto, y con un tamaño como ese, es matemáticamente suficiente para recibir la señal fuerte. Seleccione cuál de las siguientes opciones, se usa para calcular la tasa de prueba:
Answer
  • 1. Mientras más alto es el PIRE más pequeña es la antena,
  • 2. Mientras más alto es el PIRE más grande es la antena,
  • 3. Mientras más bajo es el PIRE más pequeña es la antena,
  • 4. Mientras más bajo es el PIRE más grande es la antena,

Question 58

Question
El PIRE máximo se dirige al punto central; es la da trayectoria de máxima potencia de la antena del satélite. Alrededor de ésta hay varios contornos de PIRE constantes. Que sucede con el PIRE conforme va cubriendo mas distancias.
Answer
  • 1.Disminuye
  • 2.Aumenta
  • 3. Se esparce
  • 4. Todas las anteriores

Question 59

Question
La atenuación debido a la propagación de espacio libre en un enlace microondas de 1000Km a 2500MHz. Seleccione la respuesta correcta:
Answer
  • 1. mayor que 100db
  • 2. menor que 100 db
  • 3. de 50db
  • 4. de 80db

Question 60

Question
En qué caso la propagación por onda de superficie es útil para el análisis de un enlace. Seleccione la respuesta correcta:
Answer
  • 1. Cuando las alturas de las antenas son pequeñas en comparación con la longitud de onda y la frecuencia es superior a 10MHz
  • 2. Cuando las alturas de las antenas son grandes en comparación con la longitud de onda y la frecuencia es mayor a 10MHz
  • 3. Cuando las alturas de las antenas son pequeñas en comparación con la longitud de onda y la frecuencia es inferior a 10MHz.
  • 4. Cuando las alturas de las antenas son grandes en comparación con la longitud de onda y la frecuencia es menor a 10MHz

Question 61

Question
Se denomina balun a un dispositivo conductor que convierte líneas de transmisión no balanceadas en líneas balanceadas. Seleccione que se lograría evitar con la utilización de Baluns con núcleo de hierro pulverizado dentro de su rango de aplicación.
Answer
  • 1) Sobre carga de pendiente
  • 2) Humedad.
  • 3) Saturaciones.
  • 4) Difusión simple.

Question 62

Question
Una antena monopolo es la mitad de una antena dipolo, casi siempre montado sobre una especie de plano de tierra. En comparación a las antenas dipolo a cuanto equivale la diferencia de la impedancia de entrada y la ganancia del monopolo.
Answer
  • 1. El monopolo tiene la mitad de la impedancia de entrada del dipolo y la mitad de la ganancia (es decir 1.5 dB adicionales).
  • 2. El monopolo tiene la mitad de la impedancia de entrada del dipolo y el doble de la ganancia (es decir 3 dB adicionales).
  • 3. El monopolo tiene la mitad de la impedancia de entrada del dipolo y el triple de la ganancia (es decir 6 dB adicionales).
  • 4. El monopolo tiene el doble de la impedancia de entrada del dipolo y el doble de la ganancia (es decir 3 dB adicionales).

Question 63

Question
Las antenas parabólicas pueden ser transmisoras, receptoras o full dúplex, llamadas así cuando pueden trasmitir y recibir simultáneamente. Suelen ser utilizadas a frecuencias altas y tienen una ganancia elevada. De las siguientes opciones seleccione las dos partes principales que componen una antena parabólica. CORREGIR,,,,,,
Answer
  • 1. Reflector.
  • 2. Elemento Activo.
  • 3. Baluns
  • 4. Elemento pasivo.

Question 64

Question
La Antena de guíaonda (cantenna) es una antena directiva muy útil para distancias cortas o medias en enlaces punto a punto. En relación al diámetro de este tipo de antenas, seleccione la opción correcta:
Answer
  • 1. El diámetro debe ser tal que se pueda atenuar los modos inferiores.
  • 2. El diámetro de la antena depende del factor de ruido del cabezal LNB
  • 3. El diámetro de la antena varía de acuerdo a la longitud de onda en las diferentes frecuencias.
  • 4. El diámetro debe ser tal que se pueda propagar el modo fundamental pero se atenúen los modos superiores.

Question 65

Question
Una antena es un dispositivo (conductor metálico) diseñado con el objetivo de emitir y/o recibir ondas electromagnéticas hacia el espacio libre. Una antena muy común en la actualidad es la de Yagi-Uda, la cual fue inventada en:
Answer
  • 1. Japon,1926
  • 2. Alemania,1800
  • 3. China,1926
  • 4. Singapur,1900

Question 66

Question
La antena Yagi-Uda es una antena direccional inventada por el Dr. Shintaro Uda de la Universidad Imperial de Tohoku y en menor parte, el Dr. Hidetsugu Yagi (de ahí al nombre Yagi-Uda). Seleccione las bandas de frecuencia en la que habitualmente trabaja este tipo de antenas:
Answer
  • 1. EHF-SHF-HF
  • 2. HF-UHF-VHF
  • 3. LF-UHF-VLF
  • 4. EHF-LF-UHF

Question 67

Question
Las antenas Yagi-Uda Son usadas en FM como antenas receptoras o para radioenlaces, aunque la mayor parte de Yagis que vemos en los tejados son antenas para recibir los canales de TV. Selecciones los elementos que constan en la configuración más habitual de las antenas Yagi-Uda
Answer
  • 1. Un elemento pasivo, un reflector y entre 1-10 directores.
  • 2. Un elemento pasivo, un reflector y entre 1-20 directores.
  • 3. Un elemento activo, un reflector y entre 1-5 directores.
  • 4. Un elemento activo, un reflector y entre 1-20 directores.

Question 68

Question
La particularidad de las antenas Yagi es que tienen varios elementos. Estos elementos adicionales, llamados precisamente directores, tienen la misión de dirigir la señal hacia un solo lugar. Para una antena Yagi, con un alto número de elementos directores ¿qué afirmación es cierta?
Answer
  • 1. La anchura de haz a –3 dB es mayor en el plano E que en el plano H.
  • 2. El nivel de lóbulos secundarios es mayor en el plano E que en el plano H.
  • 3. La ganancia de la antena puede alcanzar los 14 dBi
  • 4. Ninguna de las tres respuestas anteriores es correcta.

Question 69

Question
El reflectores parabólicos proporcionan una ganancia y una directividad extremadamente altas para los radios de microondas y el enlace de comunicaciones por satélite. En un reflector parabólico si mantenemos constante la potencia transmitida, el alimentador y la relación f/D, al doblar el diámetro del reflector, ¿Qué ocurrirá con el campo radiado en la dirección del máximo?
Answer
  • 1. Se mantiene constante
  • 2. Aumenta en 12 dB
  • 3. Aumenta en 6 dB
  • 4. Aumenta en 3 dB

Question 70

Question
La eficiencia de una antena se refiere la potencia suministrada a la antena y la potencia radiada o disipada dentro de la antena. Sean dos antenas, la primera una isótropa y la segunda una antena parabólica, con igual PIRE en la dirección de máxima ganancia. ¿Que podríamos decir acerca de la potencia?
Answer
  • 1. Ambas radian la misma potencia total, en todo el espacio
  • 2. Ambas radian la misma potencia.
  • 3. La antena parabólica, radia más potencia.
  • 4. La antena isótropa, radia más potencia.

Question 71

Question
En la eficiencia de cualquier antena y, en particular de las antenas parabólicas intervienen diversos factores como las pérdidas óhmicas, la dispersión en los bordes, la obstrucción y dispersión por los diversos elementos estructurales que soportan el alimentador o el subrreflector. Si en un reflector parabólico la eficiencia total es la máxima posible y sustituimos la antena que hay en el foco por otra más directiva ¿Qué ocurrirá?
Answer
  • 1. La eficiencia de iluminación aumenta
  • 2. La directividad aumenta
  • 3. El NLPS disminuye
  • 4. La eficiencia de desbordamiento aumenta

Question 72

Question
Un tipo de antena muy común en la actualidad es la conocida como Yagi, cuya característica más significativa es su simplicidad, debida a la utilización de elementos parásitos. Considere la antena Yagi de la figura. ¿A cuál de estas frecuencias funcionará mejor?
Answer
  • 1. 500 MHz
  • 2. 100 MHz
  • 3. 700 MHz
  • 4. 1400 MHz

Question 73

Question
Para aumentar la NLPS hay que conseguir que la distribución de campo en la apertura del reflector sea menos uniforme. Un reflector parabólico centrado presenta un nivel en bordes r=-6 dB. ¿Qué se debería hacer si se desea que la NLPS de la antena sea mayor?
Answer
  • 1. Poner un alimentador más directivo
  • 2. Aumentar la distancia focal, f, manteniendo el diámetro, D, constante.
  • 3. Aumentar la potencia aplicada al alimentador
  • 4. Disminuir el diámetro, manteniendo la distancia focal constante

Question 74

Question
Cuando se desea la máxima directividad de una antena, la forma del reflector generalmente es parabólica, con la fuente primaria localizada en el foco y dirigida hacia el reflector. Las antenas con reflector parabólico se utilizan extensamente en sistemas de comunicaciones en las bandas de UHF a partir de unos 800 MHz y en las de SHF y EHF. Dada la siguiente figura determine el número de reflectores por la que está compuesta la antena.
Answer
  • 1. 1 reflector
  • 2. 3 reflectores
  • 3. 2 reflectores
  • 4. 4 reflectores

Question 75

Question
Se denomina impedancia característica de una línea de transmisión a la relación existente entre la potencial aplicada y la corriente absorbida por la línea en el caso hipotético de que esta tenga una longitud infinita, o cuando aun siendo finita no existen reflexiones. Seleccione la ecuación correspondiente para calcular la impedancia del espacio libre.
Answer

Question 76

Question
La impedancia característica de un medio de transmisión sin pérdidas es igual a la raíz cuadrada de la relación de su permeabilidad magnética con su permisividad eléctrica. Seleccione cual es la impedancia característica en el espacio libre.

Question 77

Question
La propagación por onda de espacio es el mecanismo que se utiliza en la mayoría de los sistemas de comunicaciones: radiodifusión de FM y TV, telefonía móvil, radioenlaces fijos, radiocomunicaciones vía satélite, sistemas radar. La propagación por onda de espacio utiliza radiación directa entre dos antenas a través de la troposfera. Este tipo de propagación se lo conoce también como:
Answer
  • 1. Propagación por línea de vista
  • 2. Propagación por onda de superficie
  • 3. Propagación por capas ionizadas
  • 4. Propagación elíptica

Question 78

Question
La propagación por onda de espacio utiliza radiación directa entre dos antenas a través de la troposfera. Debe disponer de la potencia necesaria para cruzar una distancia dada y tener condiciones de visibilidad directa. Para la propagación por línea de vista ¿Qué factor se debe tomar en cuenta?
Answer
  • 1. La difracción de las ondas.
  • 2. La refracción de las ondas.
  • 3. El concepto de zona Fresnel, por la expansión que sufre el frente de ondas irradiadas.
  • 4. La absorción de las ondas en el espacio.

Question 79

Question
Una línea de transmisión es una estructura material de geometría uniforme utilizada para transportar eficientemente la energía de radiofrecuencia desde un punto a otro; como puede ser de un equipo de transmisión a otro, de un transmisor a la antena, entre otras aplicaciones. La impedancia característica de una línea de transmisión es:
Answer
  • 1. Una impedancia asignada arbitrariamente a una línea.
  • 2. Es una impedancia que se mide en cualquier punto de una línea de transmisión determinada no reflexivamente.
  • 3. Para que exista máxima transferencia de potencia de un generador (una carga/antena) se debe cumplir.
  • 4. La única carga que puede ser conectada para que no exista reflexión en la carga (a no ser que la línea de transmisión sea infinita).

Question 80

Question
En la tecnología inalámbrica, polarización se refiera a la orientación del campo eléctrico y magnético con respecto a la tierra. Una onda de radio se propaga de tal manera que su campo magnético es paralelo con el horizonte ¿Cuál es su polarización?
Answer
  • 1. Horizontal
  • 2. Vertical
  • 3. Circular
  • 4. Elíptica

Question 81

Question
La polarización de una onda es la figura geométrica determinada por el extremo del vector que representa al campo eléctrico en función del tiempo, en una posición dada. Para ondas con variación sinusoidal dicha figura es en general una elipse. Dada la siguiente figura seleccione el tipo de polarización a la que hace referencia:
Answer
  • 1. Circular
  • 2. Vertical
  • 3. Horizontal
  • 4. Lineal

Question 82

Question
La radiocomunicación por microondas se refiere a la transmisión de datos o voz a través de radiofrecuencias con longitudes de onda en la región de frecuencias de microondas ¿Qué tipo de propagación utiliza un radio enlace por microondas?
Answer
  • 1. Propagación por onda de superficie
  • 2. Propagación ionosferica
  • 3. Propagación por tierra plana
  • 4. Propagación por línea de vista

Question 83

Question
Las propiedades de la tierra y las distintas capas de la atmosfera afectan el modo de propagación de las ondas de radio, según su frecuencia. Según el orden de frecuencia de los 30 MHz a 30 GHz qué modo de propagación se utiliza.
Answer
  • 1. Por onda de superficie terrestre
  • 2. Por onda ionosferica
  • 3. Por onda espacial
  • 4. Por tierra plana

Question 84

Question
Línea de vista se refiere a un camino (Path) limpio, sin obstrucciones, entre las antenas transmisoras y receptoras. Para que exista la mejor propagación de las señales RF de alta frecuencia, es necesaria una Línea de vista sólida (limpia - sin obstrucciones). ¿Qué modo de propagación representa la siguiente figura?
Answer
  • 1. Propagación por onda se superficie
  • 2. Propagación por onda ionosferica
  • 3. Propagación por onda espacial
  • 4. Propagación por tierra plana

Question 85

Question
La absorción o atenuación por lluvia se refiere a la absorción de una señal RF (de radio frecuencia) por la lluvia o nieve .También se refiere a la degradación de una señal debido a la interferencia electromagnética del borde principal del frente de una tormenta. ¿En qué tipo de radioenlaces se debe dar un mayor énfasis a la atenuación por lluvia?
Answer
  • 1. En radioenlaces con frecuencias menores a los 10MHz
  • 2. En radioenlaces con frecuencias entre 1 a 7MHz
  • 3. No se debe tomar en cuenta la atenuación por lluvia
  • 4. En radioenlaces troposféricos y por satélite

Question 86

Question
El campo eléctrico es un campo físico que es representado mediante un modelo que describe la interacción entre cuerpos y sistemas con propiedades de naturaleza eléctrica. Una antena produce en espacio libre una densidad de potencia de 0,1 mW/cm2 a 100 metros. Calcule la intensidad de campo eléctrico de pico en V/m a 200 metros de distancia.
Answer
  • 1. 9,7 V/m
  • 2. 19,31 V/m
  • 3. 13,7 V/m
  • 4. 23,4 V/m

Question 87

Question
La distancia de comunicación por línea de vista está limitada por la curvatura de la tierra, dicha distancia se calcula con base a la geometría de la tierra y la altura en que esta la antena trasmisora. Una estación de radiofusión FM tiene una antena trasmisora puesta a 50 metros sobre el nivel de terreno promedio. ¿Qué tan lejos se puede recibir la señal por una antena de techo puesta a 12 metros sobre el nivel del suelo?
Answer
  • 1. 43.4 km
  • 2. 60.8 km
  • 3. 73.6 km
  • 4. 69.2 km

Question 88

Question
Un radio enlace necesita una línea de vista y un poco de espacio alrededor definido por la primera zona de Fresnel, libre de obstáculos. ¿Qué provoca la obstrucción parcial si el frente de onda en expansión incide en una montaña, árbol o un edificio?
Answer
  • 1. Una onda ionizada
  • 2. Una onda media
  • 3. Una onda difractada
  • 4. Un retardo

Question 89

Question
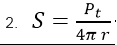
Un radiador isotrópico, es una antena imaginaria omnidireccional que radia potencia en forma de esfera perfectamente uniforme, con la misma intensidad en todas las direcciones. ¿Qué ecuación se utiliza para determinar la densidad de potencia de un radiador isotrópico?

Question 90

Question
Se muestra a continuación una señal codificada bifase Determine la técnica de codificación y obtenga la secuencia de datos.
Answer
  • a) Manchester; 111110011
  • b) Manchester diferencial; 100001011
  • c) Miller; 111101001
  • d) CMI; 10001011

Question 91

Question
Teniendo la siguiente secuencia de datos: 1100000000110000010 codificada con HDB3 (con un número impar 1 desde la última sustitución) Determine si existen errores en la codificación y de ser así señale su posición.
Answer
  • a) Existe error en el bit 3
  • b) Existe error en el bit 6
  • c) Existe error en el bit 7
  • d) No hay errores en la codificación

Question 92

Question
PPM (Pulse Position Modulation) Es una modulación en la cual la posición de un pulso de ancho constante varía de acuerdo a la amplitud de una señal analógica. Por lo tanto el valor mínimo de la señal analógica respecto al instante de muestreo provocará:
Answer
  • a) El máximo desplazamiento de pulso
  • b) La máxima amplitud de pulso
  • c) El mínimo desplazamiento de pulso
  • d) La mínima amplitud de pulso

Question 93

Question
Una forma de generar una señal modulada por amplitud de pulso, es mediante el uso de una señal modulada anteriormente con otra técnica y luego utilizar un circuito generador de pulsos constantes. Especifique cuál es la técnica de modulación anticipada que PPM utiliza para generar su señal y su diagrama de bloques.
Answer

Question 94

Question
PPM utiliza un conjunto de técnicas para recuperar la información transportada por la onda portadora, que en el extremo transmisor había sido modulada con dicha información. Seleccione cuál es el diagrama de bloques utilizado para recuperar la señal modulante, en las etapas de demodulación PPM.

Question 95

Question
La modulación por posición de pulso es una técnica desarrollada en los 50´s – 60’s para diversas aplicaciones en su época, como por ejemplo para la telemetría Selecciones una de las ventajas que presenta PPM.
Answer
  • a) Requiere un menor ancho de banda en comparación con PAM
  • b) Es una modulación que puede ser implementada de forma no coherente.
  • c) La sincronización o criterio de transmisión puede ser disminuido.
  • d) Se pueden detectar errores con facilidad

Question 96

Question
La modulación PPM presenta grandes inconvenientes, que en la actualidad se pueden obviar con el uso de técnicas de modulación más avanzadas. Selecciones dos desventajas que presenta PPM. CORREGIR...
Answer
  • a) No es adecuado para los sistemas ópticos.
  • b) Se requiere una sincronización o criterio de transmisiones.
  • c) El receptor necesita utilizar un lazo de seguimiento de fase.
  • d) Se limita al uso en medios donde las interferencias sean controladas.

Question 97

Question
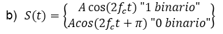
En el esquema de modulación PSK, la fase de la señal portadora se desplaza para representar los datos digitales. Escoja cual es la señal transmitida resultante durante el intervalo correspondiente a un bit, tomando en cuenta que se trata de un sistema simple conocido como desplazamiento de fase binario (BPSK)

Question 98

Question
Un objetivo predefinido en las conexiones RDSI es que la BER en un canal a 64 kbps debe ser menor que 〖10〗^(-6) para, por lo menos , el 90 % de los intervalos observados de 1 minuto de duración Supóngase ahora que se tiene un usuario con requisitos menos exigentes para el que, en el mejor de los casos, una trama con un bit erróneo no detectable ocurriera por cada día de funcionamiento continuo en un canal a 64 kbps. Supóngase que la longitud de la trama es 1000 bits. Encuentre la probabilidad de que una trama llegue sin errores (P1), y la probabilidad de que, utilizando un algoritmo para la detección de errores, una trama llegue con uno o más errores no detectados (P2)

Question 99

Question
La técnica de aleatorización en codificación, consiste en utilizar alguna técnica que desordene la información. Explique la técnica de aleatorización en el contexto de la codificación digital – digital.
Answer
  • a) Con esta técnica cada “1” fuerza una transición, por lo que el receptor se puede sincronizar en dicha transición.
  • b) Fuerza al menos una transición por cada bit pudiendo tener hasta dos en ese mismo periodo.
  • c) Fuerza una transición M por cada bit pudiendo tener hasta Mx2 en ese mismo periodo
  • d) Reemplaza las secuencias de bits que den lugar a niveles de tensión constante por otras secuencias que proporcionen suficiente número de transiciones, de tal forma que el reloj del receptor pueda mantenerse sincronizado.

Question 100

Question
Un esquema de codificación que se utiliza habitualmente en Europa y Japón es el denominado bipolar de alta densidad de tres ceros (HDB3, High Density Bipolar-3 Zeros). En este esquema, las cadenas de cuatro ceros se reemplazan por cadenas que contienen uno o dos pulsos, describa la sustitución realizada por este código.
Answer
  • a) Si la polaridad del pulso anterior es negativo y los “1” desde la última sucesión es impar entonces 000- y si es par +00+ Y si la polaridad del pulso anterior es positiva y los “1” desde la última sucesión es impar entonces 000+ y si es par -00-
  • b) Si la polaridad del pulso anterior es negativo y los “1” desde la última sucesión es impar entonces 000+ y si es par -00- Y si la polaridad del pulso anterior es positiva y los “1” desde la última sucesión es impar entonces 000- y si es par +00+
  • c) Si la polaridad del pulso anterior es negativo y los “1” desde la última sucesión es impar entonces +00+ y si es par 000- Y si la polaridad del pulso anterior es positiva y los “1” desde la última sucesión es impar entonces -00- y si es par 000+
  • d) Si la polaridad del pulso anterior es negativo y los “1” desde la última sucesión es impar entonces -00- y si es par 000+ Y si la polaridad del pulso anterior es positiva y los “1” desde la última sucesión es impar entonces +00+ y si es par 000-

Question 101

Question
La recuperación de portadora es común a todos los demoduladores de fase, incluidos los diferenciales. Una forma habitual de recuperar la portadora de una modulación de fase binaria, consiste en:
Answer
  • a) Multiplicar la señal de entrada proporcionalmente en dos vías separadas con la señal de un oscilador y luego pasarla por un filtro pasa bajos especialmente diseñado.
  • b) Elevar al cuadrado la señal de entrada y a continuación utilizar un PLL que actúa como filtro de banda muy estrecha a la frecuencia doble.
  • c) Elevar la señal de entrada a la cuarta potencia, para obtener una frecuencia cuádruple de la portadora, que será adquirida por el filtro basado en PLL
  • d) Dividir la señal de entrada en dos componentes, con dos osciladores independientes. Después, las dos señales se superponen, y se obtiene la señal portadora como resultante

Question 102

Question
En el ciclo de desarrollo de los códecs en ingeniería, un ciclo de desarrollo es el período que transcurre desde la implementación de un estándar tecnológico hasta el desarrollo de nuevas herramientas de mayor complejidad y eficiencia. Qué función puede lograr los códecs
Answer
  • a) Es un circuito combinacional con 2N entradas y N salidas, cuya misión es presentar en la salida el código binario correspondiente a la entrada activada.
  • b) Pueden codificar el flujo o la señal y recuperarlo o descifrarlo del mismo modo para la reproducción o la manipulación en un formato más apropiado para estas operaciones.
  • c) Un esquema que regula una serie de transformaciones sobre una señal o información, pueden transformar un señal a una forma codificada usada para la transmisión o cifrado o bien obtener la señal adecuada para la visualización o edición
  • d) Consigue aplicando a las entradas de control la combinación binaria correspondiente a la salida que se desea seleccionar.

Question 103

Question
La modulación de amplitud en cuadratura o QAM, por sus siglas en inglés) es una técnica que transporta dos señales independientes, mediante la modulación de una señal portadora, tanto en amplitud como en fase. Qué tipo de tecnología y aplicaciones se asocian a esta modulación: (Señale dos) CORREGIR...
Answer
  • a) Módems telefónicos para velocidades superiores a los 2400bps
  • b) Módem de US Robotics de 9600/14400 BPS
  • c) Módems ADSL que trabajan a frecuencias comprendidas entre 24KHz y 1104KHz, alcanzándose velocidades de datos de hasta 9 Mbps.
  • d) Módem de 4800/9600 BPS, síncrono/asíncrono y half-duplex.

Question 104

Question
PCM, Es un procedimiento de modulación utilizado para transformar una señal analógica en una secuencia de bits (señal digital). Cuál de las siguientes opciones no es un proceso de conversión a PCM
Answer
  • a) Codificación
  • b) Acumulador
  • c) Cuantificacion
  • d) Muestreo

Question 105

Question
El error de cuantificación deforma la señal reconstruida y da lugar a una distorsión que se denomina distorsión. El error de cuantificación es conocida también como:
Answer
  • a) Ruido de Cuantificación
  • b) Ruido Granular
  • c) Cuantificación Uniforme
  • d) Cuantificación no uniforme

Question 106

Question
La tecnología de espectro ensanchado por salto en frecuencia (FHSS) consiste en transmitir una parte de la información en una determinada frecuencia durante un intervalo de tiempo. Pasado éste tiempo se cambia la frecuencia y se sigue transmitiendo a otra frecuencia. Los saltos en frecuencia se determinan según una secuencia pseudoaleatoria almacenada en unas tablas, tanto el emisor y el receptor deben conocerla. Si se mantiene la sincronización en los saltos de frecuencias se consigue que:
Answer
  • a) Aunque en el tiempo se cambie de canal físico, a nivel lógico se mantiene un solo canal por el que se realiza la comunicación.
  • b) En el tiempo se cambia de canal lógico, a nivel físico se mantiene un solo canal por el que se realiza la comunicación.
  • c) Los cambios de nivel lógico y físico se realizan al mismo tiempo para que exista convergencia al momento de realizarse el salto de frecuencia.
  • d) FHSS conmuta sus estados, esto le permite tener distintos canales lógicos sobre los cuales envia la porción de la información contenida en los saltos de frecuencia.

Question 107

Question
La decisión de la creación de SONET fue tomada por la ECSA (Exchange Carriers Standard Association) en los Estados Unidos para posibilitar la conexión normalizada de los sistemas de fibra óptica entre sí, aunque estos fueran de distinto fabricante. ¿Qué es SONET/SDH?
Answer
  • a) Se puede considerar como la revolución de los sistemas de transmisión, como consecuencia de la utilización de la fibra óptica y como medio de transmisión, así como de la necesidad de sistemas más flexibles y que soporten anchos de banda elevados.
  • b) Es una tecnología de transporte que ofrece una gran disponibilidad con topología de autorrecuperación. Una red que usa operaciones síncronas con potentes capacidades de múltiplexación y desmultiplexación.
  • c) Es una tecnología usada en telecomunicación tradicionalmente para telefonía que permite enviar varios canales telefónicos sobre un mismo medio (ya sea cable coaxial, radio o microondas) usando técnicas de multiplexación por división de tiempo y equipos digitales de transmisión.
  • d) Es una tecnología de transporte que ofrece una gran disponibilidad con topología de autorrecuperación. Una red que no usa operaciones síncronas con potentes capacidades de múltiplexación y desmultiplexación.

Question 108

Question
En telecomunicación, la multiplexación por división de longitud de onda (WDM, del inglés Wavelength Division Multiplexing) es una tecnología que multiplexa varias señales sobre una sola fibra óptica mediante portadoras ópticas de diferente longitud de onda, usando luz procedente de un láser o un LED. La tecnología WDM
Answer
  • a) Consigue sincronismo mediante punteros a los contenedores, en la cabecera de las tramas.
  • b) Permite ampliar los segmentos de transparencia (sin conversión EO) de las redes troncales.
  • c) Sirve para formar redes malladas mediante elementos ADM de la jerarquía digital síncrona deconmutación de circuitos
  • d) Amplía la capacidad de transmisión de una fibra óptica independientemente del tipo de enlace que soporte, SDH, Ethernet, etc.

Question 109

Question
PDH Es una tecnología usada en telecomunicación tradicionalmente para telefonía que permite enviar varios canales telefónicos sobre un mismo medio Seleccione uno de los medios para la cual fue diseñado
Answer
  • a) Fibra Óptica
  • b) El par Trenzado
  • c) El Cable coaxial
  • d) La Luz

Question 110

Question
Se muestra a continuación el espectro de las técnicas de modulación FDM y OFDM Que se puede concluir de la imagen
Answer
  • a) Las subportadoras de FDM son ortogonales
  • b) OFDM permite mejorar la eficiencia espectral
  • c) La separación entre subportadoras es menor en FDM
  • d) En OFDM las subportadoras sufren interferencias
Show full summary Hide full summary

Similar

INGENIERIA DE MATERIALES
Ricardo Álvarez
Elementos Básicos de Ingeniería Ambiental
Evilus Rada
Historia de la Ingeniería
Camila González
Introducción a la Ingeniería de Software
David Pacheco Ji
UNIDAD II DIBUJO PROYECTIVO
anyimartinezrued
GENERALIDADES DE LAS EDIFICACIONES
yessi.marenco17
MAPA MENTAL SOFTWARE APLICADOS EN INGENIERÍA CIVIL
Ruben Dario Acosta P
Examen Ingeniería Electromecánica II
Jorge Cabrera7516
Normas que Rigen la Ingenieria Mecanica
Francisco Balderas Garcia
Estado de la ingenería mecánica y su perspectiva a futuro
Roberto Martinez
MAPA CONCEPTUAL SOBRE LA INICIATIVA CDIO
Victor Antonio Rodriguez Castañeda