Welche Aussage über die persönliche Schutzausrüstung auf Baustellen ist falsch?
Sicherheitsschuhe müssen immer getragen werden
Schutzhelme müssen immer getragen werden
Besonders bei Maschinenarbeit muss enganliegende Kleidung getragen werden
Wenn Gefahr durch Funken, Spritzer oder ätzende Flüssigkeit besteht, muss eine Schutzbrille getragen werden
Wenn mit verdünnter Säure gearbeitet wird, müssen Gummihandschuhe und Gummischürze getragen werden
Welche Aussage über Alkoholgenuss auf der Baustellen ist zutreffend?
Alkoholgenuss ist nur in ebenso geringen Mengen zulässig wie im Straßenverkehr
Alkoholgenuss ist grundsätzlich verboten
Alkoholgenuss ist nur in der Mittagspause erlaubt
Alkoholgenuss ist bei Arbeiten über 1,7m Höhe nicht erlaubt
Alkoholgenuss ist nur bei Arbeiten zu ebener Erde erlaubt
Welcher Böschungswinkel ist bei Baugruben für die angegebene Bodenart falsch?
60° für weichen bindigen Boden
45° für leichten Boden
60° für mittelschweren Boden
80° für leichten Fels
90° für schweren Fels
Welche Arbeiten kann man mit der Schlauchwaage ausführen?
Einmessen senkrechter Fluchten
Übertragen von Höhenpunkten
Bestimmen von Winkeln
Ermitteln von Grundflächen in Gebäuden
Ermitteln von Wandflächen in Gebäuden
Welches Instrument kann für Höhenmessungen benutzt werden?
Winkelspiegel
Fluchtstab
Nivelliergerät
Lot
Dosenlibelle
Welches der genannten Zahlenverhältnisse dient zum Abstecken eines rechten Winkels auf der Baustelle?
1 : 2 : 3
2 : 3 : 4
3 : 4 : 5
4 : 5 : 6
2 : 4 : 6
Welcher Gegenstand gehört nicht zur persönlichen Schutzausrüstung?
Sicherheitsschuhwerk
Schutzhelm
Schutzbrille
Anzug
Schutzhandschuhe
Bei welchen Vermessungsarbeiten werden Visiertafeln benötigt?
Beim Herstellen eines Winkels
Beim Einfluchten von Höhen
Beim Einfluchten von Geraden
Bei der Stangenmessung in hügeligen Gelände
Als Zwischenpunkte bei der Längenmessung
Welches Vermessungsinstrument ist hier abgebildet?
Theodolit
Doppelpentagon
Kreuzscheibe
Laserwasserwaage
Kreuzvisier
Bei welchen Arbeiten kann das abgebildete Gerät eingesetzt werden?
Ausrichten der Nivellierlatte
Festlegen von Höhenfestpunkten
Ausrichten von Fluchtstäben
Ablesen von Entfernungen
Abstecken rechter Winkel
Wie groß muss mindestens der Böschungswinkel α bei nicht bindigen Böden sein?
α = 40°
α = 45°
α = 50°
α = 60°
α = 70°
Was gehört nicht zum Begriff Leitungszone?
Untere Bettung
Seitenverfüllung
Abdeckung
Oberboden
Obere Bettung
Welches Kurzzeichen steht für Polyvinylchlorid?
PVC
PP
PX
PE
PA
Welche Bedeutung hat die Abkürzung DN?
Muffendurchmesser
durchschnittliche Nennweite
Dichtheitsprüfungsnenndruck
Nenndurchmesser
Äußerer Schaftdurchmesser
Was ist die Einstecktiefe?
Muffenlänge
Außenlänge der Muffe + 1,0cm
Innenlänge der Muffe - 1,0cm
Außenlänge der Muffe - 1,0cm
Innenlänge der Muffe - 1,5cm
Welche Gradzahlangabe für die Fase ist richtig?
30°
10°
45°
15°
60°
Welches Verdichtungsgerät ist in der Skizze dargestellt?
Einachsanhängerwalze
Fallplatte
Rüttelplatte
Tandemwalze
Doppelvibrationswalze
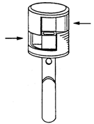
Wozu wird das abgebildete Gerät verwendet?
Ständer für Abschrankung
Als Höhenmaß
Fluchtstab für Vermessungsarbeiten
Handstampfer für das Verdichten von Boden
Schotterzerkleinerer
Welches Ergebnis zum Leitungsrohrinhalt einer 1m langen Rohrleitung DN 100 ist richtig?
9,63 Liter
14,88 Liter
10,10 Liter
7,85 Liter
78,50 Liter
Was benötigt man zum Abdichten eines Gewindes des Trinkwasserhausanschlusses?
Gleitmittel
Hanf
Isolierband
Gummiflachdichtung
Putzlappen
Ein Lichtstrahl trifft in einem Winkel von 30° auf einen Spiegel. Wie groß ist der Austrittswinkel?
20°
90°
Ergänzen Sie die letzte Zahl der Reihe, indem Sie herausfinden, nach welchen Regeln die Zahlen aufeinanderfolgen: 5 6 8 11 15 20 ?
25
21
26
31
Ein Pkw verbraucht auf einer Strecke von 225 km 13,5 Liter Normalbenzin. Wie viel verbraucht er dann pro 100 km?
1350 Liter
2,35 Liter
6 Liter
0,6 Liter
Was bedeutet das Fremdwort Mobilität?
Beweglichkeit
Krankheit
Eine Form des Mobbings
Fischart
Welche Antwort gibt die richtige Schreibweise an?
Richscheit
Richtscheid
Richtscheit
Richtschid