Representación de un objeto

Beschreibung

Mapa mental sobre el dibujo de conjunto, de despiece y en explosión
Luis  Ospina
Mindmap von Luis Ospina, aktualisiert more than 1 year ago
Luis  Ospina
Erstellt von Luis Ospina vor mehr als 9 Jahre
87
0

Zusammenfassung der Ressource

Representación de un objeto
  1. se puede hacer por medio de
    1. dibujo de despiece
      1. se hace
        1. para representar las piezas aisladas con todas las medidas y especificaciones necesarias para su completa ejecución.
          1. con el mínimo número de vistas, cortes y detalles necesarios para la perfecta definición de la pieza.
            1. con
              1. dimensiones
                1. materiales
                  1. indicaciones
              2. dibujo de conjunto
                1. es
                  1. representación gráfica de un grupo de piezas que constituyen un mecanismo, una máquina o una instalación, realizada de modo que todos estos elementos aparecen montados y unidos
                  2. debe tener
                    1. manifiesto cómo múltiples elementos diferentes constituyen una unidad, en la que las partes adquieren el sentido del que carecen consideradas independientes
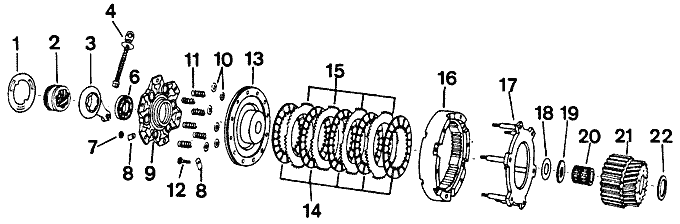
                  3. dibujo en explosión
                    1. El plano en perspectiva explosiva tiene como finalidad indicar en forma ordenada y precisa la secuencia de ubicación de las piezas que conforman un conjunto
                      1. permite
                        1. a cualquier operario realizar un desarme y posteriormente; realizada la reparación, armar el conjunto siguiendo las informaciones del plano.
                          1. debe estar
                            1. ordenado
                              1. claro
                                1. preciso
                          Zusammenfassung anzeigen Zusammenfassung ausblenden

                          ähnlicher Inhalt

                          EVALUACIÓN DE DIBUJO TECNICO
                          Jorge Arevalo
                          arquitectura del siglo XIX Y XX
                          andres silva a
                          Arte Barroco
                          juanmadj
                          INICIACIÓN A LA ARQUITECTURA
                          ma.jose95
                          EVALUACIÓN FINAL DE AutoCAD - NIVEL BÁSICO - Docente Instructor: ORÉ MEZA Armando R.
                          Armando R. ORÉ MEZA
                          EL DIBUJO COMO MEDIO DE COMUNICACION
                          gonzalo04p
                          Repaso Historia de la Arquitectura II
                          Julieta Cantú Delgado
                          Mesopotamia
                          harrycms
                          Unidad 2. Dibujo Proyectivo 1. Fundamentos CAD
                          Mariana Cardozo
                          Dibujo arquitectónico
                          Daniel Marca
                          FICHAS DE ESTUDIO TEMA: LAS ARTES PLÁSTICAS
                          Hyalmar Suxo Mamani