Processes

Description

Some key processes needed for AS Level Product Design
Niamh Walsh
Flashcards by Niamh Walsh, updated more than 1 year ago
Niamh Walsh
Created by Niamh Walsh over 10 years ago
76
6

Resource summary

Question Answer
PROCESSES Processes covered: - steam bending - laminating - drop iron forging -wrought iron forging - 'lay up' resin techniques - die casting - investment casting - sintering - routing - coating
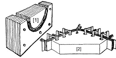
Steam bending A process suitable for most woods, including laminates. The timber is moistened in a steam chest, to the point where the timber is more pliable. The wood is then held in shape around a former until dried, after which it will retain its shape. Uses include jewellery and ribs on boat hulls
Laminating This is the process of layering materials to create a finished product. For example, plywood is formed by layering hardwood veneer at 90˚ to each other and bonding with resin, forming warp-resistant board. Laminate flooring and kitchen work surfaces are formed by layering chipboard/fibreboard with a hardwood veneer and a clear, hard-wearing resin on the top
Drop Iron Forging Used where large numbers of similarly shaped objects are required. It is a refining process. Large forces (the upper half of the mould half drops) on the metal blank force it into the shape of the die. This usually happens with many dies to achieve the products final shape.
'Lay up' Resin techniques The term used for processes involved with Glass Reinforced Plastic manufacture. A mould is required. 1. Coat mould with releasing agent 2. Apply gel coat, colour and harden it 3. After coat has cured, apply glass fibre matting 3 times. Ensure all air is driven out and mat is wet 4. Leave for 3hrs+ before removing work from mould - full hardness achieved after curing for 24hrs
Die casting The process used to cast metals with low melting points - alloys used are generally zinc or aluminium based. Gravity die casting: molten metal is poured into mould through runners; gravity ensures metal reaches all of mould Pressure die casting: molten metal is poured into mould, then a hydraulic ram applies pressure - good for more complex shapes High pressure die casting
Industrial die casting Usually hot chamber high pressure die casting. More than one die is often used, so complex shapes can be achieved. Uses include door locks and the internal components of electrical sockets Advantages of die casting - superior finish to that of sand casting - accuracy is good - material tends to be of better quality due to the rapid cooling - suitable for large scale production - low energy costs as alloy melting points are low
Investment casting An extremely old process and not commonly used. Suitable for metals with a high melting point. 1. accurate wax pattern is produced 2. pattern coated in a high temperature ceramic material and left to dry 3. pattern fired in kiln. This causes the wax to melt, leaving just the clay mould 4. molten metal poured into the cavity in the clay 5. when the cast has cooled, the ceramic mould is broken (and destroyed), leaving the cast product
Sintering Used for materials which are difficult to process in any other way. 1. Material is crushed into a powder 2. Powder compacted into a die 3. Compacted shape heated to promote bonding between particles of the material. Manufactures tool tips and hard magnetic products.
Show full summary Hide full summary

Similar

Using GoConqr to teach French
Sarah Egan
Using GoConqr to teach science
Sarah Egan
Using GoConqr to study geography
Sarah Egan
Using GoConqr to study Economics
Sarah Egan
Using GoConqr to study English literature
Sarah Egan
Using GoConqr to learn French
Sarah Egan
A Level: English language and literature techniques = Structure
Jessica 'JessieB
A Level: English language and literature technique = Dramatic terms
Jessica 'JessieB
All AS Maths Equations/Calculations and Questions
natashaaaa
A Level: English language and literature techniques = Lexis
Jessica 'JessieB
Biological Definitions
Yamminnnn