null
US
Sign In
Sign Up for Free
Sign Up
We have detected that Javascript is not enabled in your browser. The dynamic nature of our site means that Javascript must be enabled to function properly. Please read our
terms and conditions
for more information.
Next up
Copy and Edit
You need to log in to complete this action!
Register for Free
4751068
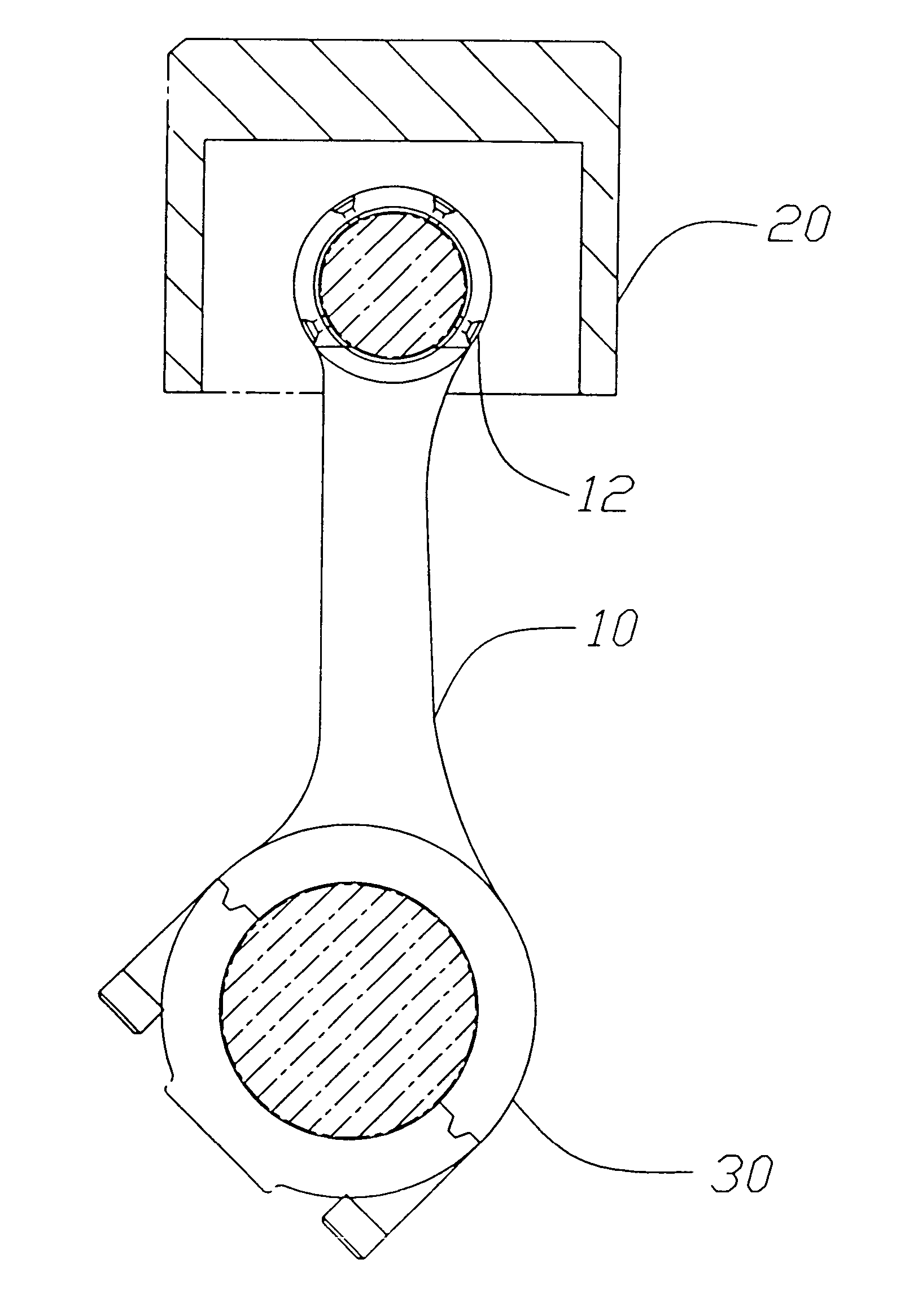
CONNECTING ROD
Description
<a rel="license" href="http://creativecommons.org/licenses/by-nc-nd/4.0/"><img alt="Licencia Creative Commons" style="border-width:0" src="https://i.creativecommons.org/l/by-nc-nd/4.0/88x31.png" /></a><br /><span xmlns:dct="http://purl.org/dc/terms/" property="dct:title">Mapa Mental Connecting rod </span> por <a xmlns:cc="http://creativecommons.org/ns#" href="https://www.goconqr.com/es/p/4751068" property="cc:attributionName" rel="cc:attributionURL">Alberto Escalante</a> se distribuye bajo una <
No tags specified
ingles
trabajo final
Mind Map by
Alberto Escalant1311
, updated more than 1 year ago
More
Less
Created by
Alberto Escalant1311
almost 10 years ago
4
0
0
Resource summary
CONNECTING ROD
connecting rod appears in the late 3rd century AD
used to convert the rotary motion of the waterwheel into the linear movement of the saw blades
converts reciprocating motion into rotating motion.
Mostly used in piston engine to connect the piston to the cranck
Tends to be under a great amount of stress
connecting rods are most usually made of steel
Can be found under the patent number: US 6745742 B2
Media attachments
32beefcc-5fb4-42ed-9f89-76b40d304866 (image/jpg)
d67833e4-1985-41e2-a344-a5220d4f0601 (image/png)
383e26d7-ad8c-4799-87d1-ea97c0c2c12e (image/jpg)
6fafbfd0-5f44-4edb-b0eb-af0527be1588 (image/jpg)
8e428286-4a85-4508-a1f5-d66828135957 (image/jpg)
d4200e64-5d1d-4ff6-aea0-cde9e47d5202 (image/png)
Show full summary
Hide full summary
Want to create your own
Mind Maps
for
free
with GoConqr?
Learn more
.
Similar
Test para Practicar para el TOEFL
Lolo Reyes
Readings para Preparar el First Certificate (I)
maya velasquez
Fichas de Inglés - Vocabulario Intermedio 2
maya velasquez
Vocabulario Inglés - Tema 2
tanianicolasizqu
Inglés - Verbos Compuestos II (Phrasal Verbs)
maya velasquez
Fichas de Inglés - Vocabulario Intermedio
maya velasquez
Inglés - Conjugación Verbos Irregulares
maya velasquez
Test de Nombres de Alimentos en Inglés
maya velasquez
Test de Nombres de Alimentos en Inglés
Virginia Vera
Verbos Culinarios Inglés-Español
Diego Santos
Gramática para Practicar el First Certificate II
Diego Santos
Browse Library