DIBUJO DE CONJUNTO

Description

TRABAJO COLABORATIVO 3
edifabis
Mind Map by edifabis, updated more than 1 year ago
edifabis
Created by edifabis over 9 years ago
50
0

Resource summary

DIBUJO DE CONJUNTO
  1. INFORME INDIVIDUAL
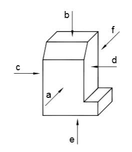
    1. DIBUJO DE DESPIECE DE UN OBJETO
      1. Representación detallada e individual de cada uno de los elementos y piezas no normalizadas que constituyen un conjunto. Incluye formas y dimensiones de los diferentes detalles constructivos, tolerancias, acabados superficiales, tratamientos y recubrimientos, materiales, etc,
      2. DIBUJO DE CONJUNTO
        1. Representa una visión general del dispositivo a construir, de forma que se puede ver la situación de las distintas piezas que lo compone, con la relación y las concordancias existentes entre ellas. La función general del plano de conjunto consiste en hacer posible el montaje.
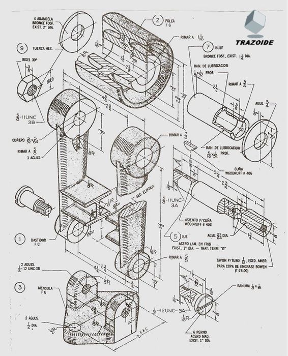
        2. DIBUJO DE CONUJNTO EN EXPLOSION
          1. Es la forma como se muestra el dibujo de conjunto con algunas o todas las piezas separadas de forma arbitraria pero sugiriendo la forma de montaje del conjunto; de hecho el termino explosión sugiere que las piezas de deben representar tal como quedarían instantes después de que una hipotética explosión.
        3. NORMAS ICONTEC
          1. NTC 1912 DOCUMENTACION TECNICA DEL PRODUCTO. VOCABULARIO PARTE 1. TERMINOS RELACIONADOS CON DIBUJO TECNICO. GENERALIDADES Y TIPOS DE DIBUJO.
            1. NTC 1777. DIBUJO TECNICO. PRINCIPIOS GENERAKES DE PRESENTACION.
            2. LIBRO JENSEN (DIBUJOS DE DETALLE EMSAMBLE)
              1. DIBUJO FUNCIONAL
                1. Dibujo de Detalle
                  1. Dibujo de Detalle Multiple
                    1. Revisiones del Dibujo
                    2. DIBUJO DE ENSAMBLE
                      1. DIBUJO DE ENSAMBLE EXPLOSIVO
                        1. DIBUJO DE ENSAMBLE DETALLADO
                          1. DIBUJOS DE SUBENSAMBLE
                          Show full summary Hide full summary

                          Similar

                          DIBUJO DE INGENIERÍA MOMENTO 3
                          Ronald Edwing Mejía Vargas
                          ETICA Y CONFLICTO EN EL MEDIO AMBIENTE Oscar Alfranca Burriel_2
                          CINDY SANCHEZ
                          MOMENTO 3
                          Fabian Salguero
                          PLE ANYI S. GOMEZ RUIZ
                          nitol gomez
                          UNIDAD III
                          cpguzmana
                          DIBUJO DE CONJUNTO
                          Carlos Arango
                          Unidad III - Dibujo de Conjunto
                          Mariana Cardozo
                          CLASIFICACION DE LAS EMPRESAS SEGUN LA LEGISLACION COLOMBIANA
                          ILeana Quiroz Ponce
                          FISICA ELECTRÓNICA
                          Diego Santos
                          mapa mental historia de la psicologia
                          Marcela Zapata
                          Mapa Mental Epistemología
                          leliogamada .