Furadeiras

Description

Estudar os diversos tipos de furadeiras
Ajuliasouza
Mind Map by Ajuliasouza, updated more than 1 year ago
Ajuliasouza
Created by Ajuliasouza almost 10 years ago
44
1

Resource summary

Furadeiras

Annotations:

  • Máquinas operatrizes que têm por função principal executar furos nos mais diversos tipos de materiais. Para tanto o motor da furadeira aplica uma alta velocidade de rotação a uma ou mais brocas (ferramentas cortantes) que serão responsáveis pela remoção de material.
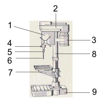
  • 1Cabeçote fixo .2Conjunto de polias .3 Motor elétrico. 4 Eixo (Árvore) .5 Porta ferramenta (Mandril) 6 Ferramenta (Broca) .7 Mesa ajustável .8 Coluna .9 Base.
  1. Furadeiras radiais

    Annotations:

    • Seu sistema de cabeçote móvel elimina a necessidade de reposicionamento da peça quando se deseja executar vários furos. Pode-se levar o cabeçote a qualquer ponto da bancada, reduzindo o tempo de produção. Recomendada para peças de grandes dimensões a serem furados em pontos afastados na periferia.
    1. Furadeira de comando numérico

      Annotations:

      • Opera de acordo com um programa, permitindo uma maior precisão e velocidade.
      1. Furadeiras portáteis

        Annotations:

        • A força de avanço vem o operador que preciona a furadeira contra o material. As furadeiras de uso doméstico classificam-se como portáteis. É utilizada comumente em peças já montadas em que o local a ser perfurado impede a utilização de furadeiras mais precisas.
        1. Furadeira de bancada

          Annotations:

          • São máquinas de pequenas dimensões onde o avanço da broca é feito manualmente. O seu motor tem capacidade geralmente em torno de 0,5 CV.
          1. Ferramenta cortante

            Annotations:

            •  Brocas (ferramentas cortantes) que serão responsáveis pela remoção de material. 
            1. Principais movimentos

              Annotations:

              • A – movimento de corte. B – movimento de avanço.
              1. Tipos de furação
                1. Material cheio
                  1. Material previamente furado
                  2. Principais modalidades
                    Show full summary Hide full summary

                    Similar

                    Furadeiras
                    Jonathan B.
                    Furadeiras
                    Jhonata Oliveira
                    Furadeiras
                    Ismael H
                    Furadeiras
                    gustavoapolinari
                    Furadeiras
                    Luiz Fellipe
                    Furadeiras
                    Gustavo Henrique O
                    Furadeiras
                    Henrique Vieira 1
                    Furadeiras
                    Handy_
                    Furadeiras
                    Joao Pedro Leo
                    Furadeiras
                    jacyjrn
                    Furadeiras
                    isabellyfaria643