DIBUJO DE CONJUNTO

Description

Dibujo de conjunto
liliana tuberquia
Mind Map by liliana tuberquia, updated more than 1 year ago
liliana tuberquia
Created by liliana tuberquia over 9 years ago
21
0

Resource summary

DIBUJO DE CONJUNTO
  1. Dibujo de despiece
    1. Cada pieza se dibuja con el minimo numero de vistas, cortes y detalles necesarios para la perfecta definicion de la pieza
      1. En el dibujo de despiece hay que indicar todos los detalles y datos tecnicos para su realizacion como:
        1. Dimensiones
          1. Signos superficiales y tratameintos especificos
            1. Tolerancias, materiales e identificación
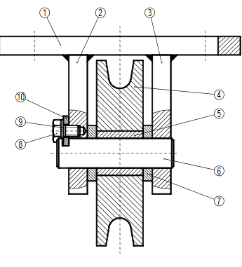
        2. Dibujo de conjunto
          1. Es la representacion completa del mecanismo, maquina o instalacion con todos sus elementos y componentes montados. Representa una visión general de dispositivo a construir y se puede ver las distintas piezas que lo componen
            1. Se deben elegir las vistas de forma que el conjunto quede en su posicion de trabajo o utilización
              1. Se debe iniciar por la pieza principal o interiores, continuar con las secundarias o exteriores
          2. Dibujo de conjunto en explosión
            1. Indica de forma ordenada y precisa la secuencia de la ubicacion de las piezas que conforman un conjunto, permitiendo realizar el desarme y armar el conjunto siguiendo la informacion del plano
              1. El marcado se hace de forma análoga al dibujo de conjunto en proyeccion diedrica
            Show full summary Hide full summary

            Similar

            SECCIONES CÓNICAS
            maluna_02
            LA PERPENDICULARIDAD, EL PARALELISMO Y LOS ÁNGULOS
            Chenxi Ye
            principales tópicos del OVI Teoría de descripción de la forma, capítulo 6 libro Jensen (Dibujo y diseño en ingeniería) y OVA Reconocimiento de vistas.
            yenny paola mondragon
            Axonometría
            Micaela Reinoso
            Sistemas de proyección. Geometría descriptiva I
            idsh24
            MÉTODO MONGE O SISTEMA DIÉDRICO
            Alex Martínez
            Tangencias.
            Paco Sanchidrián
            Unidad 1 y Libro de Jensen Dibujo de Ingeniería
            CARMIÑA CHICO
            Unidad III - Dibujo de Conjunto
            Mariana Cardozo
            UNIDAD 3 – DIBUJO DE CONJUNTO
            Laura Patiño
            Mapa Mental ¨Dibujo Proyectivo¨
            Mauricio Gomez