null
US
Sign In
Sign Up for Free
Sign Up
We have detected that Javascript is not enabled in your browser. The dynamic nature of our site means that Javascript must be enabled to function properly. Please read our
terms and conditions
for more information.
Next up
Copy and Edit
You need to log in to complete this action!
Register for Free
3368190
contenidos
Description
MARION amey castillo luna
No tags specified
usos de las tecnologias de la informacion y comunicacion
usos de alomasenamiento
haftware y software
Mind Map by
noiram.luna16
, updated more than 1 year ago
More
Less
Created by
noiram.luna16
over 10 years ago
12
0
0
Resource summary
contenidos
usos de las tecnologiasde la informacion y las comunicaciones
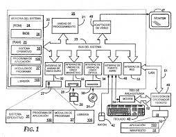
identificacion del hardware
dispositivos de salida
unidades de almacenamientio
conexion de dispositivos
configurasion de dispositivos del la pc
Media attachments
d3ca677b-6de3-43cb-91df-7f1077106082 (image/jpg)
f9d88878-433c-42ae-81e2-b5ea59edec9f (image/jpg)
21962c34-2f08-4467-a5a2-aa21d463e821 (image/jpg)
c0c3632b-5219-4f82-996b-8712033e3d33 (image/jpg)
fc58192e-c47d-4c82-9cdf-4cd89a37aec0 (image/jpg)
2555079b-bdcc-41b9-aa48-acc1e3f3fb77 (image/jpg)
Show full summary
Hide full summary
Want to create your own
Mind Maps
for
free
with GoConqr?
Learn more
.
Similar
Ingeniería Industrial
genifer.estrada
Estructura calculo diferencial
Miguel Mejia Muñ
PLANEACIÓN DIDÁCTICA EN EL TELEBACHILLERATO COMUNITARIO
Maricela Sánchez Moreno
Diseño de contenidos online
Carlos Marcelo
el prorrateo
Ana Santay Leon
La noticia
Rosina Puyol
los diez mandamientos de la ley de Dios
claudia perez
Los Métodos de Enseñanza (Tecnología educativa)
priscila grijalba
SARLAFT Herramienta para combartir el lavado de ac
KAREN FALLA QUINTERO
ORGANIZACIÓN DE LOS CONTENIDOS
Jessica Paola7193
Promover la reflexión entre la literatura y el resto de las artes, analizando e interrrelacionando obras (Bloque 4. Educación literaria)
Mayte Soriano
Browse Library