Troquelado

Description

Mapa mental de conceptos del Troquelado
Rafael Miranda
Mind Map by Rafael Miranda, updated more than 1 year ago
Rafael Miranda
Created by Rafael Miranda over 10 years ago
24
0

Resource summary

Troquelado
  1. El troquelado o estampado es el conjunto de operaciones con las cuales, sin producir viruta, sometemos una lámina plana a ciertas transformaciones a fin de obtener una pieza de forma geométrica propia
    1. Las operaciones se subdividen en
      1. Corte o Punzonado
        1. Se realiza generalmente en frío.
          1. Es la operación en la cual, con herramientas aptas para el corte, se separa una parte metálica de otra.
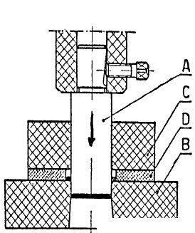
            1. Partes de un troquel sencillo de Punzonar: A) Punzón, B) Matriz, C) Guía (para la carrera del punzón), D) Guía (para la cinta de lámina a trabajar)
            2. Doblado y/o Curvado
              1. Se realiza generalmente en frío.
                1. Es necesario considerar el radio de curvatura interior (que sea igual o mayor al espesor de la lámina para prevenir ruptura) y la elasticidad del material.
                  1. El desarrollo en el plano de una lámina doblada se calcula según su plano neutro. El plano neutro no siempre se halla a la mitad del espesor.
                  2. Embutido
                    1. Puede realizarse en frío o en caliente.
                      1. Consiste en transformar una lámina de metal en un cuerpo hueco tridimensional en una o más pasadas. En esta operación no debe modificarse el espesor de la lámina.
                        1. La fuerza necesaria para el embutido se determina con la fórmula: P = 2π r s Rdm Ln(R/r)
                      2. Ciclo del Troquelado: 1. Definir la forma de la pieza. 2. Determinar las dimensiones. 3. Conocer características del material. 4. La posibilidad de extraer de la matriz
                        Show full summary Hide full summary

                        Similar

                        Troquelado o Estampado
                        Adriana Loera Villeda
                        Proceso de embutido
                        Gustavo Tehuitzil
                        DOBLADO Y PLEGADO 1
                        b0ob.x4ndrh4
                        Tipos de corte
                        Emmanuel Vargas B.
                        Toquelado
                        Levi Ramos
                        EL TROQUELADO O ESTAMPADO
                        Nata Mei
                        Embutidos
                        Emmanuel Vargas B.
                        TROQUELADO_1
                        isracel89
                        estampado
                        luis alfredo cas