DIBUJO DE INGENIERIA

Description

Mapa mental unidad2
Jose  Cristancho
Mind Map by Jose Cristancho , updated more than 1 year ago
Jose  Cristancho
Created by Jose Cristancho over 9 years ago
66
0

Resource summary

DIBUJO DE INGENIERIA
  1. DIBUJO PROYECTIVO
    1. FORMATOS NORMALIZADOS
      1. Es el tamaño normalizado del papel de dibujo. Las dimensiones de los formatos obedecen a las dimensiones establecidas por las normas. Por ejemplo los designados con la letra A (A0, A1, A2, A3, A4, A5, A6). Al trabajar con los formatos se pueden hacer en dos posiciones vertical y horizontal
        1. Tipos de formato
        2. LINEAS NORMALIZADAS
          1. Son las líneas que cumplen con un calibre, trazo y una función específica
          2. ESCALAS NORMALIZADAS
            1. Las escalas nos permiten representar las piezas en dimensiones que nos permitan dibujarlas en un formato normalizado, ya que son recursos que permiten aumentar o disminuir proporcionalmente las dimensiones de un dibujo con respectos a las dimensiones reales de la pieza.
              1. Tipos de escala
                1. Escala Natural: Es aquella en que las dimensiones del dibujo son iguales a las dimensiones de las piezas u objeto real. La escala natural se representa de la manera siguiente 1:1, y se lee uno es a uno.
                  1. Escala de ampliación: Es aquella en donde las dimensiones del dibujo siempre son mayores que las dimensiones de la pieza representada. Se expresa por la relación de dos números en donde el primero siempre es mayor que el segundo, quedando así: 3:1, 5:1, 10:1.
                    1. Escala de reducción: Es aquella en donde las dimensiones del dibujo siempre son menores que las dimensiones de la pieza representada, se expresa mediante la relación de dos números, en donde el segundo numero es siempre de mayor valor, de la manera siguiente: 1:2, 1:4, 1:6.
                  2. VISTAS
                    1. se denomina vistas a las proyecciones ortogonales del mismo sobre 6 planos dispuestos en forma de cubo
                      1. Si situamos un observador según las seis direcciones indicadas por las flechas, obtendríamos las seis vistas posibles de un objeto
                        1. Vistas especiales
                          1. Vistas Especiales Con el objeto de conseguir representaciones más claras y simplificadas, ahorrando a su vez tiempo de ejecución, pueden realizarse una serie de representaciones especiales de las vistas de un objeto.
                            1. VISTAS DE PIEZAS SIMÉTRICAS En los casos de piezas con uno o varios ejes de simetría, puede representarse dicha pieza mediante una fracción de su vista fig. 1 y 2. La traza del plano de simetría que limita el contorno de la vista, se marca en cada uno de sus extremos con dos pequeños trazos finos paralelos, perpendiculares al eje. También se pueden prolongar las arista de la pieza, ligeramente más allá de la traza del plano de simetría, en cuyo caso, no se indicarán los trazos paralelos en los extremos del eje Fig. 3.
                              1. VISTAS CAMBIADAS DE POSICIÓN Cuando por motivos excepcionales, una vista no ocupe su posición según el método adoptado, se indicará la dirección de observación mediante una flecha y una letra mayúscula; la flecha será de mayor tamaño que las de acotación y la letra mayor que las cifras de cota. En la vista cambiada de posición se indicará dicha letra, o bien la indicación de "Visto por" (Fig 4 y 5).
                                1. VISTAS DE DETALLES Si un detalle de una pieza, no quedara bien definido mediante las vistas normales, podrá dibujarse una vista parcial de dicho detalle. En la vista de detalle, se indicará la letra mayúscula identificativa de la dirección desde la que se ve dicha vista, y se limitará mediante una línea fina a mano alzada. La visual que la originó se identificará mediante una flecha y una letra mayúscula como en el apartado anterior Fig 6. En otras ocasiones, el problema resulta ser las pequeñas dimensiones de un detalle de la pieza, que impide su correcta interpretación y acotación. En este caso se podrá realizar una vista de detalle ampliada convenientemente. La zona ampliada, se identificará mediante un círculo de línea fina y una letra mayúscula; en la vista ampliada se indicará la letra de identificación y la escala utilizada Fig 7.
                                  1. VISTAS LOCALES En elementos simétricos, se permite realizar vistas locales en lugar de una vista completa. Para la representación de estas vistas se seguirá el método del tercer diedro, independientemente del método general de representación adoptado. Estas vistas locales se dibujan con línea gruesa, y unidas a la vista principal por una línea fina de trazo y punto Fig 8 y 9
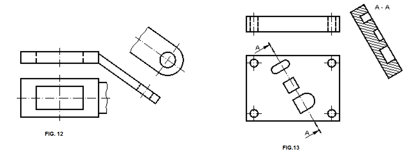
                                    1. VISTAS GIRADAS Tienen como objetivo, el evitar la representación de elementos de objetos, que en vista normal no aparecerían con su verdadera forma. Suele presentarse en piezas con nervios o brazos que forman ángulos distintos de 90º respecto a las direcciones principales de los ejes. Se representará una vista en posición real, y la otra eliminando el ángulo de inclinación del detalle figuras 10 y 11.
                                      1. En ocasiones se presentan elementos en piezas, que resultan oblicuos respecto a los planos de proyección. Con el objeto de evitar la proyección deformada de esos elementos, se procede a realizar su proyección sobre planos auxiliares oblicuos. Dicha proyección se limitará a la zona oblicua, de esta forma dicho elemento quedará definido por una vista normal y completa y otra parcial (figuras 13). En ocasiones determinados elementos de una pieza resultan oblicuos respecto a todos los planos de proyección, en estos casos habrá de realizarse dos cambios de planos, para obtener la verdadera magnitud de dicho elemento, estas vistas se denominan vistas auxiliares dobles. Si partes interiores de una pieza ocupan posiciones especiales oblicuas, respecto a los planos de proyección, se podrá realizar un corte auxiliar oblicuo, que se proyectará paralelo al plano de corte y abatido. Figuras 12 y 13
                                    2. Secciones, Cortes y Roturas
                                      1. Cortes
                                        1. Es la vista originada cuando se divide un objeto por medio de uno o varios planos imaginarios
                                          1. TIPOS 1.Corte total 2.Semi corte o corte al cuarto 3.Corte parcial
                                          2. Secciones
                                            1. Es la superficie producida al dividir una pieza por uno o varios planos imaginarios
                                              1. TIPOS 1. secciones abatidas sin desplazamiento 2. secciones abatidas con desplazamiento 3. secciones abatidas sucesivas
                                              2. Roturas
                                                1. Es un convencionalismo que se emplea para representar piezas de gran longitud cuando su sección longitudinal es uniforme, de forma que pueda representarse adecuadamente su perfil. Para ello se representa solo el principio y el final de la pieza
                                            2. JOSE CRISTANCHO 212060-40_16_4
                                              Show full summary Hide full summary

                                              Similar

                                              UNIDAD II DIBUJO PROYECTIVO
                                              anyimartinezrued
                                              principales tópicos del OVI Teoría de descripción de la forma, capítulo 6 libro Jensen (Dibujo y diseño en ingeniería) y OVA Reconocimiento de vistas.
                                              yenny paola mondragon
                                              Unidad II Dibujo Proyectivo
                                              Mauricio Rodriguez
                                              Dibujo Proyectivo
                                              Alexa Ortiz Castaño
                                              MAPA MENTAL DE DIBUJO MOMENTO 2 DE FORMATOS NORMALIZADOS/LINEAS NORMALIZADAS/ESCALAS NORMALIZADAS/VISTAS Y CORTES
                                              oscar f. ortiz saenz
                                              Unidad 2: Dibujo proyectivo
                                              El Javier
                                              DIBUJO DE INGENIERÍA
                                              Mayra Alejandra Barbosa
                                              Dibujo de Ingeniería. Unidad 2
                                              Alix Aguirre
                                              Dibujo Proyectivo / UNAD
                                              Eduard Andrei Sandoval Garcia
                                              DIBUJO DE INGENIERÍA UNAD
                                              JHOAN BAYRON QUINTERO HERRERA
                                              DIBUJO NORMALIZADO
                                              CARLOS ANDRES Lota Luna